FIND A SHOW NEAR YOU

Kick off winter with Warren Miller!

GET TICKETS

YOUR MEMBERSHIP TO WINTER

50% off articles, streaming & more with Outside+

JOIN TODAY

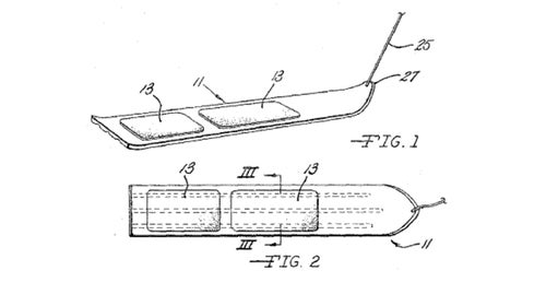
A patent for the Snurfer.
A patent for the Snurfer. (Wikimedia Commons)

Snurfer

Published: 
A patent for the Snurfer.
(Photo: Wikimedia Commons)

New perk: Easily find new routes and hidden gems, upcoming running events, and more near you. Your weekly Local Running Newsletter has everything you need to lace up! Subscribe today.

A bindingless monoski invented in 1965. The skateboard for snow gave dedicated snurfer Jake Burton (see Snowboarding) the idea for the snowboard and nearly went extinct soon after. 

From Outside Magazine, August 2015 Lead Photo: Wikimedia Commons

Popular on Outside Online

sms